通知信息
当前位置: 首页 >> 通知信息 >> 正文
关于做好2025-2026学年学术学位研究生学位论文开题论证及中期考核相关工作的通知
发布时间:2025年10月21日  点击量:

各研究生培养单位:

根据《西北大学全日制学术学位研究生培养工作规定》和《西北大学学位授予工作实施细则》等有关规定,现将我校2025-2026学年研究生开题论证及中期考核相关工作安排如下:

一、研究生学位论文开题论证工作

(一)开题对象

2024学术学位博士、硕士研究生,及其他年级开题未完成的学术学位研究生。

(二)时间安排

博士研究生于202512月31日前在研究生信息管理系统中完成开题答辩。

硕士研究生于20265月31日前在研究生信息管理系统中完成开题答辩。

(三)工作流程

(四)工作要求

1.学位论文开题是形成高质量学位论文的基础和重要保证,研究生须在导师的指导下,深入调查研究,确立研究课题,通过学位论文开题论证。

2.研究生开题报告应包含选题背景、研究综述、研究思路及方法、研究内容、创新点、论文的基本框架、参考文献等。博士研究生应以“国家自然科学基金申请书”或“国家社会科学基金申请书”为样式撰写开题报告。

3.开题论证由研究生培养单位按学科方向分小组进行。博士研究生开题论证专家组由不少于 3 名具有相当于正高级职称的专家或学术学位博士研究生导师组成;硕士研究生开题论证专家组由不少于 3 名具有相当于副高级以上职称的专家或学术学位硕士研究生导师组成.

4.开题论证的结论分“通过”、“不通过”两种情况。结论为“通过”的研究生,进入论文写作阶段。博士开题论证通过后,要求学位论文撰写时间不少于 18 个月;硕士研究生开题论证通过后,要求学位论文撰写时间不少于 12 个月。结论为“不通过”的研究生,在3个月后重新开题论证,通过者进入论文写作阶段,不通过者随下一级重新开题论证。

5.加强对研究生学位论文开题论证环节的管理,是监督和保证研究生学位论文质量的重要措施,请各研究生培养单位、研究生导师认真组织,规范管理,确保开题工作顺利进行。

(五)有关涉密问题

根据《西北大学涉密研究生及涉密学位论文管理办法》及《西北大学研究生学位论文暂缓公开处理实施办法》的要求,涉密学位论文及暂缓公开学位论文应在学位论文开题时经学校相关主管部门审批认定并备案,否则在论文评审阶段不得作为涉密学位论文或暂缓公开学位论文进行评审。博士研究生准备撰写的学位论文如有涉密或暂缓公开内容,请及时在“网上办事大厅”办理相关涉密手续,操作流程详见附件内《西北大学研究生学位论文暂缓公开线上申请操作流程》。

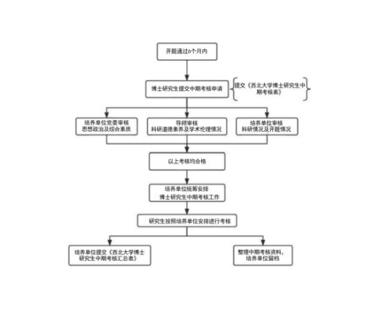
二、博士研究生学位论文中期考核工作

(一)考核对象

2023级、2024学术学位博士研究生,及其他年级未通过中期考核的学术学位博士研究生。

(二)时间安排

2023级博士研究生及其他年级未通过中期考核的博士研究生博士研究生于202512月31日前或完成开题论证后6个月内在研究生信息管理系统中完成中期考核。

2024级博士研究生于完成开题论证后6个月内在研究生信息管理系统中完成中期考核。

(三)工作流程

)工作要求

1.中期考核的考核结果分为“合格”和“不合格”两个等级。考核合格的博士生,可按培养计划继续完成博士学业。考核不合格的博士生,应在一年内申请第二次考核。每名博士研究生在学期间最多有两次考核机会。

2.对两次中期考核不合格的博士生,各培养单位应区分不同情况作如下处理:(1)学生本人在学制内提出申请,经导师、研究生培养单位及其所属二级党委同意,报研究生院审核,学校批准后,报省级教育行政管理部门审批,审批通过,转为硕士研究生培养;(2)对明显缺乏科研能力或其他原因,不宜继续攻读博士学位者,根据学籍管理文件作肄业处理。

3.在中期考核中有下列情形之一者,直接认定为“不合格”:

1)无故未在规定时间内参加首次考核;

2)中期考核过程中存在学术不端等行为;

3)其它由中期考核领导小组认定的情形。

4.博士研究生中期考核是博士研究生培养的必修环节,是申请学位的前提条件,各博士研究生培养单位要高度重视,按照本单位所制定中期考核工作实施细则如期高质量完成。


未尽事宜请联系研究生院教学办公室。

联系人:王珺泽

联系电话:88308163


研究生院

20251021